竹圍捷運電梯大樓 馬
淡水買屋 /
淡水買房
-
0323山水御庭.低公設3房|近竹圍捷運 法拍諮詢代標
預約看屋
更多優質好屋: 163
※ 房屋照片僅反應使用現況,用途以實際合法文件為準。若法定用途與現況不同,可能違法並有相關風險,請購屋或承租前詳加確認,以保障權益。
- 拍賣價:
1149 萬
920 萬 - 參考單價:23.66 萬/坪
- 地址:
新北市
淡水區
民生路
地圖
🏷️ 查看區域實價登錄
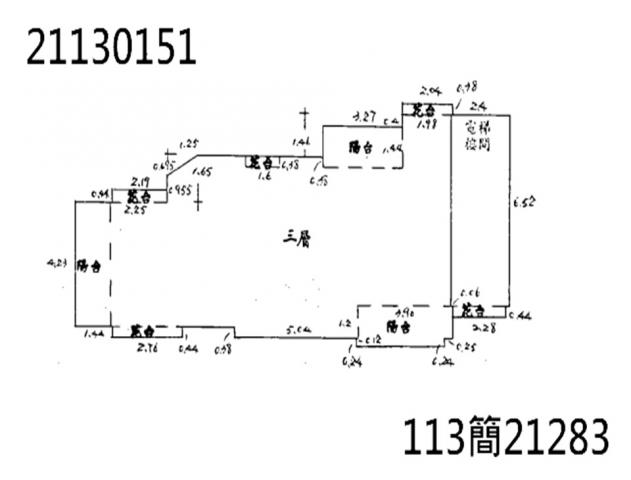
- 案號:113簡21283
- 拍次:三拍
- 點交情況:點交
- 社區:山水御庭
- 格局: 3+3房(室) 2廳 2衛 1陽台 1廚房
- 總坪數:38.89 坪 (不含車位面積)
- 主建物面積:25.75 坪
- 附屬建物面積:6.19 坪
- 共同使用:6.95 坪
- 土地面積:6.89 坪
- 樓別/樓高: 3樓 / 7樓
- 屋齡:30 年
- 法定用途:住家用
- 形式/類型:住宅/ 華廈
- 電梯:有
詳細資訊
特色說明
圖片介紹














地圖 (點擊顯示地圖)
我家AI分析|物件診斷一次看
本內容由AI輔助分析整理,僅供參考,實際情況仍建議依此房仲說明與個人需求判斷。
SWOT 分析
| 面向 | 內容 |
|---|---|
| 優勢 | 1. 價格優勢:目前標價為 920 萬元,相對於初標價已有顯著折讓,且單價低於市場平均。 2. 地理位置:位於淡水區竹圍商圈,鄰近捷運竹圍站,交通便利且生活機能成熟。 3. 格局實用:三房兩廳兩衛的格局對於家庭居住非常適合,坪數約 38.89 坪。 4. 交易保障:標註為「保證點交」,買定後由法院強制執行點交,降低租約糾紛風險。 5. 財務方案:提供銀行專案貸款,利率及成數較具吸引力。 |
| 劣勢 | 1. 無法內勘:因案件被查封,買方無法實際進入屋內查看,只能依賴平面圖判斷。 2. 屋況隱憂:屋齡已達 30 年,且法院筆錄指出地震導致天花板有裂痕,可能存在維修需求。 3. 現況占用:債務人目前居住使用中,雖保證點交,但仍需時間與法院協調搬遷事宜。 4. 競標風險:法拍屋需透過競價取得,最終成交價可能高於底價。 |
| 機會 | 1. 價格折讓:經過多次流標,底價已降至 920 萬元,對於預算有限的購屋者是入場良機。 2. 學校資源:鄰近竹圍國小及竹圍國中,適合有就學需求的家庭。 3. 房貸優惠:針對法拍屋的融資方案,如低利率與高貸款成數,可減輕資金壓力。 4. 保值潛力:近捷運站區的住宅通常保值性較高,未來轉手相對容易。 |
| 威脅 | 1. 結構風險:天花板裂痕代表房屋可能曾受結構性影響,維修成本與後續安全隱憂需自行評估。 2. 競價失控:若現場有多位買家出價,價格可能快速攀升,超出預算上限。 3. 潛在瑕疵:無法入內勘查可能遺漏隱藏的水電問題或漏水狀況。 4. 市場波動:房市整體走勢或政策變化,可能影響未來房價增值空間。 |
物件評論
此物件對於預算有限且具備裝修能力或風險承受度的購屋者來說,具備相當的購買價值。
主要理由如下:
- 性價比高:920 萬的總價在竹圍捷運站周邊的三房住宅中具價格優勢,且銀行保證塗銷抵押權,產權相對安全。
- 居住機能佳:雙廳三衛的格局加上鄰近學校與捷運,非常適合首購家庭或重視通勤的買方。
- 需評估風險:建議在決標前務必仔細檢視屋況評估報告,並預留一筆裝潢修繕的預算以應對地震造成的損壞與屋齡老化的問題。若您無法接受隱匿瑕疵或需要立即入住,則需謹慎考慮。
問與答
法拍諮詢代標
法拍諮詢代標
林元絨(仲介,收取服務費)
暱稱:林元絨
專業品質:
服務態度:
房仲電話:0916-326768
訂閱:2 (加入)透明房訊 104法拍屋 直營店
經紀業名稱: 財欣不動產管理顧問有限公司
證號: 林元絨(101) 新北經字第2639號
大家好,我是您的房地產專業顧問,一名擁有超過二十年法拍經驗的專業經理人。我曾多次榮獲百萬經紀人稱號及年度法拍案件代標件數王,這些成就不僅展現了我的專業知識,同時也代表了客戶對我的信賴。我畢業於政大地政,並持有雙證照,對房地產市場有著精準的洞察力。
我以誠實、負責和細心的態度,提供每位客戶最專業的服務,無論是自用者尋找合適且經濟的夢想之家,還是投資人希望穩健賺取外快,我都能成為您堅強的後盾。我深知每位客戶的需求和期望,並以謹慎的態度為您量身訂製最佳解決方案。
我的專業團隊將全力協助您,讓您的計劃事半功倍。如果您對房地產有任何疑問或需求,歡迎隨時與我聯繫,我將竭誠為您服務!
室內電話:02-22663524
1020百齡大廈 低公設4房 面仁愛林蔭 法拍諮詢代標
台北市 大安區
0126郭氏林氏新建大樓 大戶雙車 一層一戶法拍諮詢代標
台北市 士林區
0121布達宮 電梯別墅 歐式花園中庭 法拍諮詢代標
新北市 林口區
1216幸福大樓 小資套房 近西門捷運 法拍諮詢代標
台北市 萬華區
1210康寧城堡 邊間3房車 飯店式管理法拍諮詢代標
台北市 內湖區
0108富豪城堡 樓中樓+車位 溫州公園 法拍諮詢代標
桃園市 桃園區
0108陽明帝景.社區型電梯別墅|面紗帽山 法拍諮詢代標
台北市 士林區
0114太子香格里拉 歐式4房3車 上南崁特區法拍諮詢代標
桃園市 蘆竹區
1211臻第大樓 小資套房 近中正橋法拍諮詢代標
台北市 中正區
1113滿庭芳.擁露台+車位|採光佳 法拍諮詢代標
台北市 內湖區

預約看屋
發問
收藏房屋土地
分享














我家粉絲團